在當代的生活和工作中,製作論文、工作會議報告和演示工程文稿都離不開 Word 文檔,隨著工作量和時間緊迫帶來的壓力,手動的去建立和編輯 doc、docx 等文件會非常的繁瑣,因此指定完整的模板去自動化生成 doc、docx 等文件可以幫我們大大減輕工作和時間帶來的壓力。 Wrod 文檔模板預先設計好布局,包括文本樣式、排版設置,excel 數據表把需要生成的數據依次排好,可以批量的創建符合要求的 doc、docx 文件,不用重新開始設計和排版。
使用場景
有大量的數據在 Excel 表格中,需要將每一行的數據填充到一個 Word、PPT 或 Excel 模板文件中,從而批量生成這些 doc、docx、xlsx、ppt 文件。 最常見的使用場景是批量生成合同、邀請函等。
效果預覽
處理前:

處理後:


操作步驟
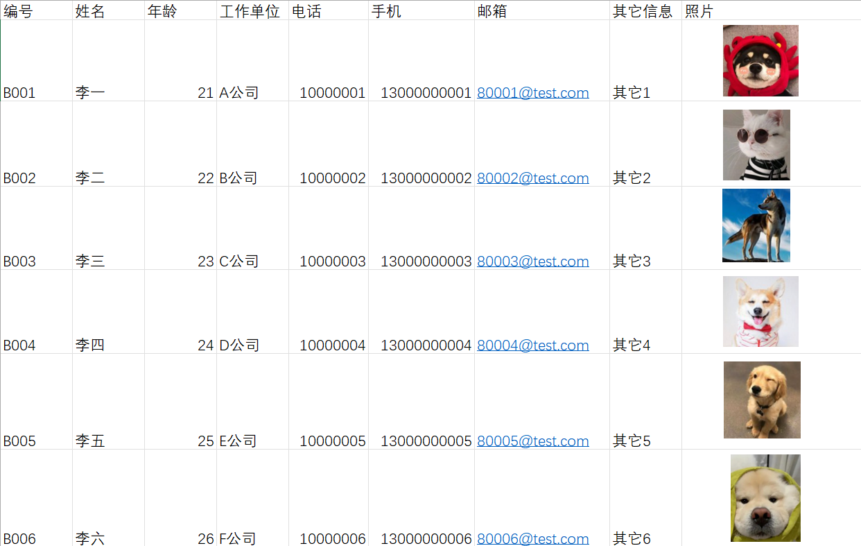
首先準備好 Excel 數據表和 Word 文檔的模板,如下圖:
Excel 數據表

Word 文檔模板

打開我的ABC軟體工具箱,點擊【文件內容】-【指定模板生成文件】。

點擊【添加文件】選擇 Word 文檔模板文件【從文件夾中導入文件】從文件夾里選擇 Word 文檔文件導入,也可直接拖入文件至下方紅框內。

接下來點擊【新建對應關系】,然後填寫【名稱】,【Excel 數據文件】點擊右邊放大鏡,把 Excel 數據表選取進去,【標題所在行號】看需求自行選擇。

【處理選項】根據自身需求進行選擇【最終生成的文件名類型】選擇將指定列的內容作為文件名【文件名所在列】對應 Excel 數據表的第二列內容:員工姓名

檢查 Word 文檔模板的占位符和 Excel 數據表有無偏差,在照片那一欄選擇圖片。

選定文件,然後點擊下一步。

等待處理完成後,找到保存的文件夾查看批量生成的 doc、docx 等格式的文件。
